典型應用
產品適宜在清潔、稀薄、非侵蝕、非易燃易爆且不含固體顆粒或纖維的液體中使用。
供水系統;供熱、空調系統;增壓供水、恒壓供水;消防、噴淋系統;灌溉、畜牧使用;工業冷卻、加熱循環系統;工業輸送、排放系統
泵結構
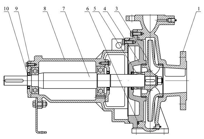
泵為非自吸、單級單吸臥式,軸向進水,徑向出水, 泵體底部與底座固定。
采用標準型耐磨機械密封。
全封閉、風冷IEC標準電機。
NISO采用軸承架,可進行軸承定位,避免軸承的軸向竄動,同時提高了轉子部件的剛性。
MSO整體式泵軸,采用油脂潤滑的導向深溝球軸承。
NISO泵與電機之間采用半彈性聯軸器相連。
NISO泵外形及安裝尺寸符合ISO 2858標準。
NIS,NISF泵采用直聯型聯接加長軸結構。
鑄鐵泵體進出口法蘭符合GB/T17241.6(ISO7005-2)標準,壓力等級PN16;不銹鋼泵體進出口法蘭符合GB/T9113 (IS07005-1)標準,壓力等級PN16。
性能參數
*大流里:1200m3/h
*高揚程:160m
*大工作壓力:16bar
*大進口壓力:6bar
*大功率:200kW
介質溫度:-15℃~110℃
進出口徑:進口口徑:DN50~DN300;出口口徑:DN32~DN250
曲線條件
下列說明適用于后面所示的曲線。
曲線容差符合ISO9906:2012,3B。
所有曲線都基于電機在恒速2900rpm、2950rpm、 1450rpm或1480rpm 的測量值。
測試采用20C不含空氣的水,運動粘度為lmm2/s。
特點
參采用后拉式結構,維修時無須拆除泵體及管路。
NISO泵型僅采用4種泵軸及懸架體部件,提高了零件的互換性。
葉輪進行了優化設計,進口口徑加大,無渦流, 有效地降低水泵汽蝕余M,使得水泵運行平穩低噪聲。
NIS, NISF栗體積小、結構緊湊、安裝簡單。
型譜圖
NISO截面圖
NIS,NISF截面圖